Sistema de inyección directa patentado por Honda


Con el fin de reducir las emisiones, los automóviles optaron por la inyección directa en sus motores. Honda trabaja en adaptar este sistema a sus motocicletas a la vista de una patente en la que aparece un motor con este sistema de inyección y doble bujía. Podría llegar con la renovación de las CRF250L y Rally.

En el mundo de la automoción existen principalmente dos tipos de inyección. La más utilizada hasta ahora era la inyección indirecta. En ella el combustible se atomizaba en la tobera de admisión junto al aire, justo antes de entrar a los cilindros a través de la(s) válvula(s) correspondiente(s): fue la evolución de los carburadores. Sin embargo en los últimos años y debido a las normas anticontaminación, se ha ido usando cada vez más la inyección directa.

2019-10-10-sistede-inyeccion-directa-patentado-por-honda-02

La principal diferencia reside en que el combustible se inyecta directamente en la cámara de combustión, y allí es donde se mezcla con el aire. Dependiendo de la presión, de dónde se coloque el inyector así como de la forma de la cámara de combustión y la cabeza del pistón, se consigue crear la mezcla mientras se produce el recorrido de admisión y compresión para luego ser encendida por la bujía.
Hasta el momento las motos no han tenido la necesidad de usar estos sistemas. Únicamente se utilizaron en los experimentos con motores de dos tiempos e inyección. El caso más conocido fue el de la Aprilia SR50 Ditech (DirectInjectionTechnology) que usaba el sistema australiano Orbital, pero también hablamos de otras motos que usaron sistemas similares.

Aquí es donde entra en escena la marca japonesa y su Honda EXP-2 de dos tiempos con la que participó en el Rally Granada-Dakar de 1995. Con ella conseguiría llegar en quinta posición a la meta siendo pilotada por Jean Brucy.

Honda EXP-2

Honda siempre ha confiado en el sistema PGM-FI de inyección programada para sus motocicletas. De hecho fue desarrollada para utilizar por primera vez en 1982 con sus modelos sobrealimentados,la CX500 Turbo y posteriormente la CX650 Turbo.
Ahora Honda parece haber rescatado o, mejor dicho, trabajado en un sistema de inyección directa para algunos de sus motores de menos cilindrada. O al menos el usado para la patente es el mismo que monta las Honda CRF250L y CRF250 Rally.

2019-10-10-sistede-inyeccion-directa-patentado-por-honda-04

Patente Honda CRF250L inyección directa

Ambos modelos son Euro 4 y por lo tanto, con la llegada en 2020 de la Euro 5, Honda podría haber optado por este sistema con el fin de pasar las pertinentes pruebas de emisiones a pesar de que estos sistemas suelen ser más caros. Requieren una culata más complicada ya que aumenta el número de orificios en ella. De igual forma hay problemas con la temperatura, el inyector debe trabajar a mucha mayor presión y resistir las explosiones del interior del cilindro, etc.

2019-10-10-sistede-inyeccion-directa-patentado-por-honda-05

2019-10-10-sistede-inyeccion-directa-patentado-por-honda-06

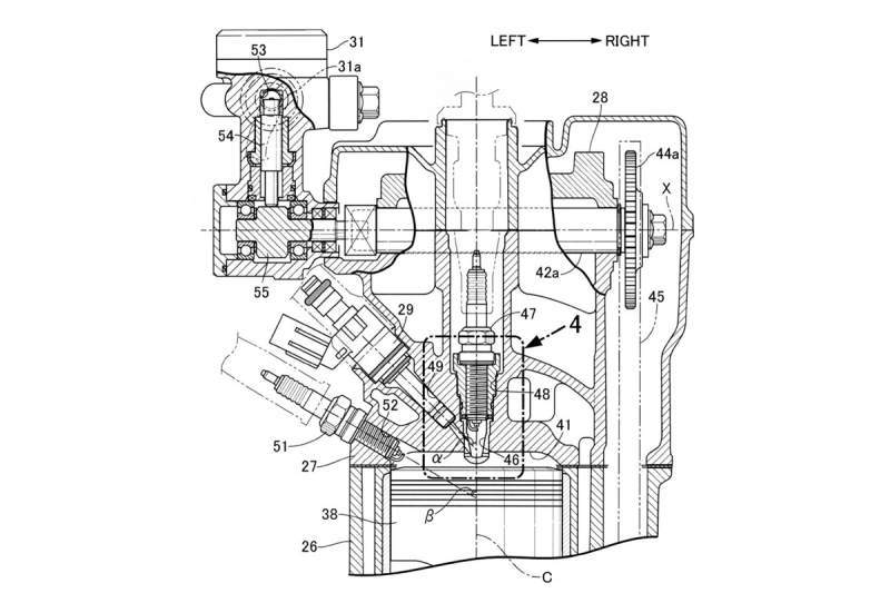
En la patente podemos observar el sistema de inyección directa (29) así como una cámara de combustión con dos bujías (47 y 57), otra novedad que tampoco es demasiado habitual (aunque hay motos con hasta tres bujías). Por último, la bomba de inyección es mecánica (más robusta y capaz de alcanzar mayores presiones, ideal en este tipo de motos).

Por: David Gil
Fuente: soymotero.net

Seleccione su provincia o ciudad.

captcha
Suscribite a nuestro Newsletter Toda la información que necesitás sobre posventa y mercado automotriz, en tu casilla.
Suscribirme
Seguinos hoy!